Multifan Ventilator 6E 63Q+
Ø 630 mm, 11'500 m3/hAxial-Ventilatoren eignen sich als Stall-Lüftungsventilatoren für Zu- und Abluft, als Ventilatoren für Wärmerückgewinnungs-Anlagen oder für die Lüftung von Gewächs- und Treibhäusern. Weitere Anwendungsgebiete sind Käsereien, Metzgereien, Kühlräume, Werkstätten etc.
- Technische Daten
- Produktinformationen
- Lieferung
- Montage
- Downloads
- Flügeldurchmesser630 mm
- Schallpegel69 db (A)
- Luftmenge freiblasend11'500 m3/h
- Drehzahl935 U/min.
- Spannung230 Volt
- Nennstrom2.20 Ampère
- Leistung500 Watt
- Gewicht23.0 kg
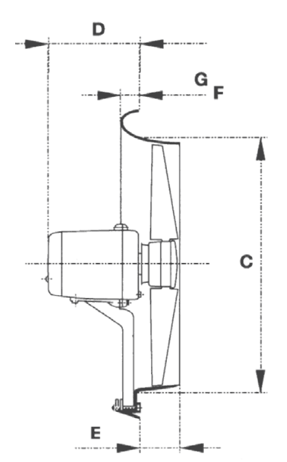
- Mass A715 mm
- Mass B775 mm
- Mass C670 mm
- Mass D247 mm
- Mass E105 mm
- Mass F40 mm
Die Spezial-Ventilatoren erfüllen alle Anforderungen einer effizienten Lüftungstechnik:
– Spritzwassergeschützte, leistungsfähige Aluminium Aussenläufer-Asynchronmotoren
– Eingebauter Temperaturwächter
– Wandringplatten aus schlagfestem Kunststoff oder feuerverzinktem Feinblech
– Kondensatoren im Klemmkasten eingebaut, gut zugängliche Anschlussklemmen
– Tauchimprägnierte und eingebrannte Wicklung mit Wicklungsschutz
– Rillenkugellager mit Spezialfettung
– Geräuscharm drehende Flügelräder aus schlagfestem Kunststoff
– Stabiles Schutzgitter aus korrosionsbeständigem, verchromtem Stahldraht
Lieferung ab Kägiswil
Lieferfrist 2-3 Werktage
Transport
Postversand
Verpackung
Karton
Die Ventilatoren können an Wände, Kanäle oder in Abluftkamine eingebaut werden. Elektroanschluss-Schemas und Montageanleitungen werden mitgeliefert.

